[더구루=윤진웅 기자] BMW가 전동화 전략에 따라 전기 바이크 생산에 박차를 가하고 있다. 특히 BMW 바이크의 상징인 박서 엔진을 전기화하는 작업을 진행하고 있다.
18일 유럽 특허청(EPO)에 따르면 BMW는 최근 전기 박서 엔진 특허를 출원했다. 박서 엔진은 BMW 바이크의 태동부터 현재까지 모든 과정을 함께해 온 엔진이다. 브랜드 전통을 반영한 전기 바이크를 생산하겠다는 의지를 엿볼 수 있는 대목이다.
이에 앞서 BMW는 지난 2019년 전기 콘셉트 바이크 '비젼 DC 로드스터'(Vision DC Roadster)를 통해 박서 엔진을 차용한 디자인을 선보이기도 했다.
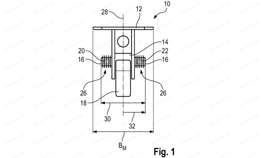
특허 이미지에 담긴 전기 박서 엔진은 좌·우측에 냉각시스템을 갖춘 대형 배터리로 두 개의 대향 엔진 실린더(opposed engine cylinders) 대신 측면에 냉각 리브와 팬을 탑재했다. 특히 공랭식 박서 엔진과 유사한 성능을 내기 위해 두 개의 실린더에 각각 인버터와 내부 액체 냉각 시스템 등을 적용한 것이 특징이다.
일단 생산 효율성보다는 기존 박서 엔진과 동일한 모양을 갖추는 데 집중했다. 무엇보다 차체 실루엣을 결정짓는 실린더 크기와 위치 선정에 신경을 썼다는 설명이다.
전기 박서 엔진의 구체적인 생산 계획은 아직 결정된 바 없다. 다만 내년부터 지속해서 전기 바이크를 출시할 예정인 만큼 전기 박서 엔진 탑재 모델이 등장할 것으로 업계는 보고 있다.
업계 관계자는 "초기 모델은 아직 스쿠터 단계지만 내년을 시작으로 다양한 전기 바이크가 출시될 것으로 기대된다"며 "출시를 계획하고 있는 바이크 9종 중 전기 박서 엔진을 탑재한 모델이 나올 것으로 예상된다"고 말했다.
BMW는 그룹 모터사이클 부문인 BMW모트라드를 통해 18~24개월 주기로 새로운 전기 바이크를 출시한다는 계획이다. 내년 첫 번째 전기 바이크를 시작으로 라인업을 완성하겠다는 방침이다. 이미 전기 바이크 명칭 사용을 위해 DC01~09까지 상표를 등록했다.


























