
[더구루=홍성일 기자] 애플이 무선 이어버드 에어팟을 기반으로 사용자의 뇌파 등을 검사할 수 있는 기능을 담은 특허를 출원했다.
미국특허청(USPTO)는 지난 20일(현지시간) 애플이 지난 1월 9일 출원한 '전극의 동적 선택을 이용한 생체 신호 감지 장치(Biosignal Sensing Device Using Dynamic Selection Of Electrodes)'라는 제목의 특허를 공개했다.
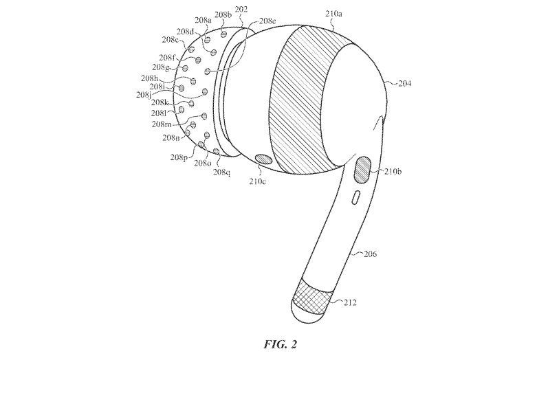
특허에 따르면 해당 특허는 웨어러블 전자 장치에 전극 센서를 장착하는 내용을 담고 있다.
이를통해 유저의 뇌파 신호 등을 측정할 수 있다. 애플은 EMG(근전도검사), EOG(안전도 검사), ECG(심전도 검사), GSR(피층 전기 반응), BVP(맥박도 검사) 등 다양한 신호를 측정할 수 있을 것이라고 설명했다.
애플은 특허를 통해 이런 기능을 단순히 터치하는 것만으로 켜고 끌 수 있을 것이라고도 전했다.
업계에서는 애플이 특허에서 각 센서가 유저의 귀에 딱 맞게 착용해야 정확한 결과를 얻을 수 있다고 설명한 만큼 개인별로 이를 맞출 수 있는 장치가 나올 수 있으며 가격이 매우 비쌀 수 있다고 분석하기도 했다.