[더구루=오소영 기자] 중국 TCL이 전자담배를 고정할 수 있는 스마트폰 특허를 내놓았다.
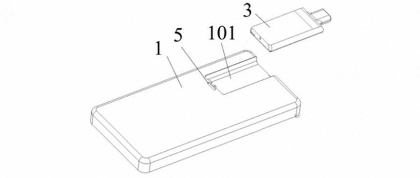
3일 업계에 따르면 TCL은 지난달 28일(현지시간) 중국 특허청에서 휴대폰 디자인 특허를 공개했다. '전자 담배를 장착한 휴대폰·카메라를 탈착한 휴대폰'이란 제목으로 특허 공개번호는 CN113452815A다.
눈길을 끄는 부분은 본체에 전자담배를 고정하는 방식이다. 별도 공간을 만들어 전자담배를 끼워넣는 식으로 전자담배가 들어가도 겉면이 튀어나오지 않도록 했다.
중국은 흡연자 수가 2019년 기준 2억8700만 명으로 세계 1위다. 전자담배 흡연자 비율은 1%대로 성장잠재력이 크다. 금단 증세 완화, 니코틴 의존도 축소 등을 목적으로 전자담배 수요가 증가하면서 TCL이 이를 고려한 새 특허를 내놓은 것으로 보인다.
TCL은 다양한 형태의 스마트폰을 연구하며 제품 포트폴리오 확대에 힘쓰고 있다. 지난 4월에는 폴더블폰과 롤러블폰을 하나로 합친 '폴드앤롤'(Fold’n Roll) 콘셉트폰을 공개했다. 화면을 접으면 6.87인치 스마트폰으로 사용할 수 있고 펴면 8.85인치 패블릿으로 변신한다. 화면을 쭉 당기면 10인치 태블릿PC로 활용 가능하다.
한편, 1981년 설립된 TCL은 스마트폰뿐 아니라 TV와 오디오, 에어컨 등을 생산하고 있다. 화웨이를 통해 스마트폰 브랜드 '팔콘(FFALCON)'의 신제품 '썬더버드(Thunderbird) FF1' 판매를 시작하며 현지 시장에서 세를 넓히고 있다.






























